310 Commonwealth Ave Newton, MA 02459
Visit 310 Commonwealth Ave in Newton, MA, 02459
This profile includes property assessor report information, real estate records and a complete residency history.
We have include the current owner’s name and phone number to help you find the right person and learn more.
PROPERTY OVERVIEW
Type: Single Family
4 beds5,885 sqft
4 beds5,885 sqft
Facts
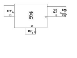
Built in 1924Roof type: Gable Property use: Single FamilyRoof material: Slate Lot size: 16,105 sqftHeat type: Hot Wtr Radiat Effective area: 4,310 sqftFuel type: Gas Gross building area: 5,885 sqftAir conditioning: Central Building type: ResidentialFrontage: 110 feet Rooms: 9Unfinished attic area: 630 sqft Bedrooms: 4Basement area: 1,260 sqft Stories: 2Finished basement area: 315 sqft Exterior condition: AveragePorch area: 124 sqft Exterior walls: Brick VeneerEnclosed porch area: 182 sqft Trim: NoneDetached garage area: 400 sqft Foundation type: Brick/Fldstone
Features
Kitchen quality: Above Average
Recent residents
| Resident Name | Phone | More Info |
|---|---|---|
| Kohorn Daniel S Von | Status: Last owner (from Sep 29, 2006 to now) |
|
| Margaret F Mcgovern | Status: Previous owner (from Jul 14, 1965 to Sep 29, 2006) |
|
| Joseph J Mcgovern | Status: Previous owner (from Aug 15, 1956) |
|
| Adele L Mcgovern | Status: Previous owner (from Aug 15, 1956 to Jul 14, 1965) |
|
| Evelyn L Conway | Status: Previous owner (to Aug 15, 1956) |
Neighbors
287 Commonwealth Ave
J Stephen Cohen
J Stephen Cohen
Assessment history
| Year | Tax | Assessment | Market |
|---|---|---|---|
| 2016 | $1,199,800.00 | ||
| 2015 | $1,121,300.00 | ||
| 2014 | $1,075,100.00 | ||
| 2013 | $1,001,800.00 | ||
| 2012 | $1,001,800.00 | ||
| 2011 | $884,100.00 | ||
| 2010 | $902,200.00 | ||
| 2009 | $890,100.00 | ||
| 2008 | $846,200.00 | ||
| 2007 | $895,200.00 | ||
| 2006 | $1,007,100.00 | ||
| 2005 | $959,100.00 | ||
| 2004 | $896,000.00 | ||
| 2003 | $800,000.00 | ||
| 2002 | $800,000.00 | ||
| 2001 | $653,800.00 | ||
| 2000 | $597,100.00 | ||
| 1999 | $543,300.00 | ||
| 1998 | $518,600.00 | ||
| 1997 | $508,400.00 | ||
| 1996 | $484,200.00 | ||
| 1995 | $476,500.00 | ||
| 1994 | $433,200.00 | ||
| 1993 | $433,200.00 | ||
| 1992 | $464,200.00 |



